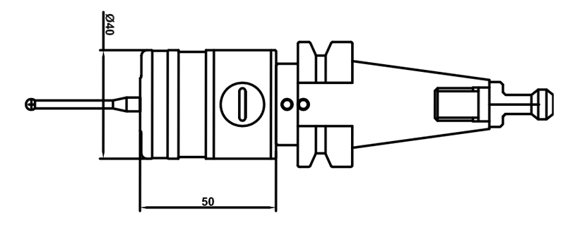
HRPB40

  • 型号 HRPB40
  • 测量方向 ±X、±Y、Z
  • 防护等级 IP68
  • 信号传输方式 红外线
  • 最大过行程 XY±15°,Z5mm
  • 测头主体尺寸 最大外径40mm,长度50mm
  • 重复触发精度 2 Sigma 1μm
  • 电源 14250锂电池(3.6V)
  • 触发力 XY向68g,Z向320g
  • 测针 选配(螺纹M4)
  • 测量速度 ≤500mm/min
  • 触发方式 接触式
  • 触发寿命 1000万次
  • 信号传输范围 径向360°,轴向360° 距离大于5m
  • 接收器输入电压 24±10%V DC

HRPB40是一款面向加工中心的高精度光学测头,采用2.4GHz 无线传输,精度0.001mm,寿命1000万次,防护等级IP68,红外通讯测量系统,工作范围广,批量零件加工监控,不间断自动抽检产品,自动快速分中/找正,修正夹具或工件定位偏差,减少加工过程人为因素对精度的影响,使操作更简单快捷,快速探测判断工件状态,降本增效。

3200.00

分享到

描述

        HRPB40是一款面向加工中心的高精度无线触发式测头,采用2.4GHz 无线传输,重复精度可达 ±0.001mm,向机床数控系统提供测头触发,错误,测头电压低和脉冲四种SSR信号,测量系统工作状态可视化,工作状态可显示在接收器的指示灯面板上,可实现自动分中、寻边、序中测量与刀补修正,显著提升效率与一致性。
图片关键词
图片关键词 
功能简述

1.测头精度快速校准,自动分中/找正设定加工基准
2.自动建立工件坐标系和自动进行测头标定

3.自动检测并设置工件在机床坐标系内的工艺基准

4.加工精度的控制和刀具磨损的自动补偿

5.测头移动过程中的碰撞保护
6.配合自动化,增强无人生产的可靠性
7.适用于复杂型面或大尺寸工件3D曲面测量

产品尺寸图 /接线图测头技术参数
图片关键词
                               图片关键词
测头技术参数
  图片关键词常用的工件检测功能
        
工件测量:
 
        测头移动保护                                凸台/凹槽测量                              凸典/凹湘宽度测量
     
        内角/外角测量                              内孔/外圆测量                              孔中心距测量

        长、宽、高测量


图片关键词

图片关键词简易开启代码款红外线使用说明书.doc


导航
首页
产品
新闻
联系